Fikus presenta como novedad mundial la destrucción en 4 ejes de hilo
Una de las novedades del módulo de electroerosión de hilo en Fikus Visualcam consiste en la posibilidad de aplicar procesos de destrucción para geometrías de cuatro ejes (contornos diferentes en el planos superior e inferior).
Principio de Aplicación
La técnica de la destrucción se utiliza en situaciones donde las geometrías son extremadamente pequeñas y en los casos en que los cortes puedan generar retales cuya sujeción no sea posible (fuente: AgieCharmilles).
En estos casos se suele aplicar un proceso de destrucción espiral generado por un sistema CAM (véase Agiegeo) aplicando posteriormente repasos completos para obtener la calidad final deseada.
La característica principal de la trayectoria espiral que genera el sistema CAM tiene como peculiaridad que no genera ningún retal durante el proceso de erosionado del material gracias al algoritmo de cálculo aplicado en la generación de la trayectoria del hilo por lo que la presencia del operario en máquina se reduce drásticamente.
La limitación de la técnica de destrucción reside en que sólo es utilizado para piezas de dimensiones pequeñas pues el tiempo de erosión es considerable.

Novedad Mundial
Desde la versión 14 de Fikus Visualcam es posible aplicar esta potente y útil técnica no sólo sobre geometría 2D sino también sobre prácticamente cualquier geometría 3D destacando a nivel mundial por ser la primera aplicación de CAD/CAM en el mercado actual que ofrece dicha caracteística. Los nuevos algoritmos de cálculo (pendientes de patente) sincronizan los movimientos de las boquillas superior e inferior de la máquina de electroerosión de hilo asegurando que ningún retal es generado durante el proceso de corte, optimizando el tiempo de erosión.
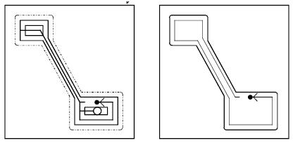
Como ejemplo ilustrativo se muestra una situación donde la geometría sobre la que se desea aplicar el proceso de destrucción 4 ejes está formada por un polígono regular de 5 lados (pentágono) en su parte superior y un círculo en la parte inferior.


